k8凯发

咨询热线:400-808-9183
新闻中心 > 专题中心 > 双网口路由器负载均衡设置WiFi客户端优先,4G备份使用指导

双网口路由器负载均衡设置WiFi客户端优先,4G备份使用指导

2022年08月04日
专题中心
2208

1.路由器Web页登录

1)路由器插好4G卡,安装好网络天线;然后将路由器的Lan口连接到电脑网口,同时电脑网络共享中心的本地连接设置自动获取; 图片1.png图片2.png

2)打开浏览器,输入:192.168.1.1(默认地址,如有修改,请先查看电脑本地连 接处的实际网关ip地址),回车,输入默认的登录用户名、密码:admin/admin,点击“登录”,最后进入到路由器的配置管理页面。
图片3.png
3)如有需要,还可以修改路由器默认网关LAN的IP地址,如下
:

图片4.png

2.确认4G网络+无线WiFi客户端网络

a)确认4G卡移动网络

一般连接好4G网络天线后,插卡即用,无需其他配置,如遇到APN物联网卡导致拨号失败,请先向卡商确认具体的APN账号信息,并对应填写即可。4G卡拨号成功的网络状态及 配置APN信息,分别查看如下 :图片5.png图片6.pngb) 4G卡外网连通测试,ping通外网即可,如下 :图片7.png 3.设置无线WiFi客户端网络

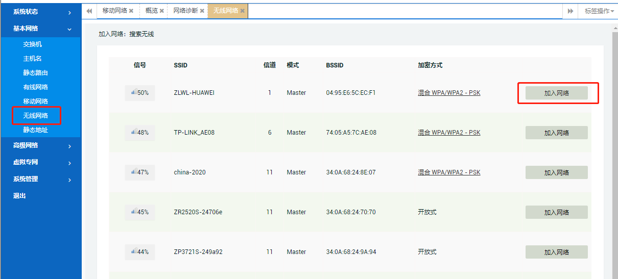
1)选择 “基本网络”—“无线网络”,点击“扫描”,找到要加入的无线网络,并输入WiFi密码后,依次点击“提交”和“保存应用”即可,分别如下: 图片8.png图片9.png图片10.png图片11.png图片12.png 2)选择“系统状态”–“概览”页查看无线客户端的ip地址连接状态,成功如下:图片13.png 4.负载均衡页面配置无线客户端wwan(新版本默认已预置好wwan相关参数,则跳过4.1-4.3配置内容)

4.1新增wwan接口
1)手动添加无线客户端的wwan接口(必须是系统指定的wwan名称,不然后面使用异常); 图片14.png 2)设置跟踪检测的外网ip地址或者域名,至少一个;同时修改“刷新跟踪连接表为ifup(netifd)”。分别如下: 图片16.png图片17.png 3)保存应用后,列表会正常显示出wwan接口列表。图片18.png 4.2添加wwan接口成员:
因为要设置无线优先,4G备份使用场景,所以这里增加一个跃点m和权重w分别为1的成员;设置过程分别如下: 图片19.png图片20.png图片21.png 4.3设置wwan接口的负载均衡策略
因为要使用WiFi优先,4G备份,所以设置名称为wwan_primary,同时必须关联成员wwan_m1_w1和3gwan1_m2_w1;分别如下:图片22.png图片23.png图片24.png 4.4设置负载均衡控制规则
将如下默认的两个选项策略都修改为wwan_primary,即启用无线wwan优先,4G备份规则,分别如下: 4.5.开启负载均衡功能
开启全局接口并保存应用设置,并查看4G卡和WiFi客户端负载均衡在线状态,分别如下: 5.无线wwan网络和4G网络使用测试

电脑端进行ping外网和路由表跟踪测试,一般有线wwan带宽比4G带宽会高许多,所以延时比较小的,即是使用无线接口流量的。
1)如下,则是顺利获得无线wwan接口优先访问网络的。 图片30.png 2)接着禁用无线wwan网络后,此时流量使用正常切换到4G卡上面,如下。图片31.png 3)恢复无线网络后,流量就会再次切回到无线wwan接口。
负载均衡功能各默认策略使用说明:图片32.pngwan_only: 指仅使用wan有线网络(无论3G/4G卡是否正常都忽略流量);
3gwan_only:指仅使用3G/4G拨号网络(无论有线wan网络是否存在都忽略);
balanced: 指同时使用wan有线网络和3G/4G拨号网络;默认两者流量比例为1:1, 可具体修改;
balanced_wan:指同时使用wan有线网络和3G/4G拨号网络;默认两 者流量比例 wan:3gwan1=2:1,可具体修改;
wan_primary:指wan有线网络优先,3G/4G拨号网络备份;当wan有线异常或故障时, 网络自动检测切换到3G/4G网络;当wan网络恢复后,网络流量再自动 检测切换到wan有线。
3gwan_primary:指3G/4G无线拨号网络优先,wan有线网络备份;当3G/4G拨号网络 异常或故障时,网络自动检测切换到wan 有线网络;当3G/4G无线 网络恢复后,网络流量再自动检测切换回去3/4G。
wwan_primary: 指无线wwan网络优先,3G/4G拨号网络备份;当wwan有线异常或故障时,网络自动检测切换到3G/4G网络;当wwan网络恢复后,网络流量再自动检测切换到wwan无线网络。
备注:默认接口检测配置下,无线wwan和4G网络切换时长为10-30秒之间,具体以实测为准。

双网口路由器负载均衡功能设置有线WAN优先,4G备份规则 4G路由器Smartlink串口透传协议配置指导
顶部